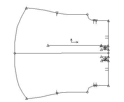
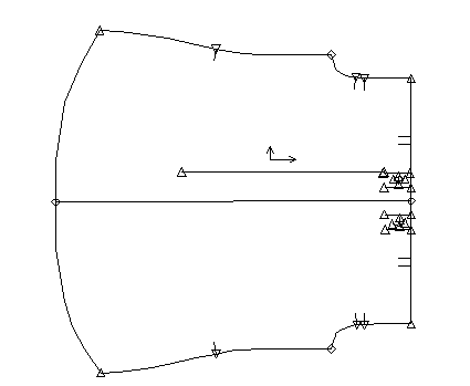
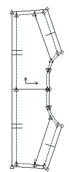
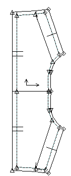
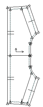
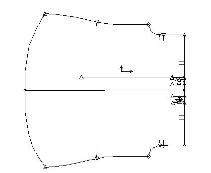
ACCUMARK: Patterns/gradings, blouse and grade rule table
patterns and gradings created in accumark
It all begins with an idea. Maybe you want to launch a business. Maybe you want to turn a hobby into something more. Or maybe you have a creative project to share with the world. Whatever it is, the way you tell your story online can make all the difference.
Cuff
Long sleeve
Short sleeve
Gathered sleeve
Skirt
Shorts
Waistband
2. blouse created in accumark
3. grade rule table created in accumark
Grade rule table page 1
Grade rule table page 2
Grade rule table page 3